
Descarga Bloques AutoCAD Accesibilidad: Sillas de Ruedas, Muletas y Más
La accesibilidad es un aspecto esencial en el diseño arquitectónico moderno, y los bloques DWG de discapacidad facilitan la integración de soluciones inclusivas en planos y proyectos. Desde sillas de ruedas hasta personas usando herramientas de rehabilitación, estos bloques en formato AutoCAD 2D son indispensables para garantizar un diseño accesible y funcional.
¿Qué son los bloques DWG de discapacidad?
Los bloques DWG de discapacidad son representaciones gráficas diseñadas para incluir a personas con movilidad reducida en planos arquitectónicos. Estos bloques incluyen:
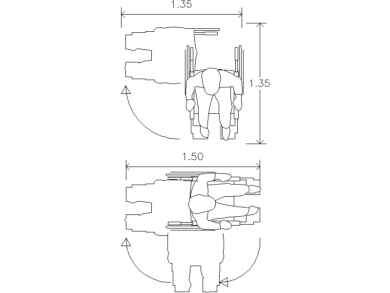
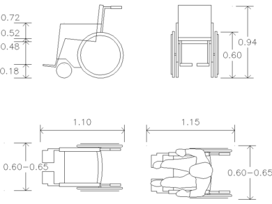
- Sillas de ruedas en diferentes vistas: planta, elevación y lateral.
- Personas discapacitadas en actividades cotidianas, como girando una silla de ruedas o siendo empujadas por una enfermera.
- Elementos de accesibilidad en hospitales: camas de hospital, andadores y herramientas de rehabilitación.
Además, destacan por su precisión en las proporciones y dimensiones, como el ancho de una silla de ruedas, lo que asegura una integración realista en cualquier diseño.
Tipos de bloques DWG de discapacidad
- Sillas de ruedas y su movimiento
- Estudio de movilidad: Incluye giros y dimensiones reales.
- Perspectivas variadas: Planta, frontal y elevación lateral.
- Personas en diversas situaciones
- Discapacitados sentados en sillas de ruedas desde ángulos diferentes.
- 4 personas en sillas de ruedas apuntando o interactuando.
- Niños y adultos en sillas de ruedas para contextos educativos o recreativos.
- Elementos de accesibilidad
- Baños adaptados: Bloques específicos para diseñar áreas accesibles.
- Muletas y andadores: Representaciones detalladas de herramientas de apoyo.
- Enfermeras asistiendo a pacientes: Perfecto para planos de hospitales y clínicas.
Ventajas de los bloques DWG de discapacidad
- Diseño inclusivo: Facilita la creación de espacios accesibles para todos.
- Precisión técnica: Proporciones realistas y ajustadas a normativas.
- Variedad de opciones: Incluye escenarios cotidianos y hospitalarios.
¿Dónde encontrar los mejores bloques DWG de discapacidad?
Explorar opciones gratuitas y de calidad es esencial. Algunas fuentes recomendadas incluyen:
- Bibliocad: Especializada en bloques para discapacitados y minusválidos DWG.
- DWGAutocad.com: Con una amplia colección de accesibilidad y movilidad.
- Bloques AutoCAD: Ideal para descargar recursos sobre baños adaptados y herramientas de rehabilitación.
Consejos para usar bloques DWG de discapacidad en AutoCAD
- Ajusta la escala: Verifica que las dimensiones correspondan al diseño real.
- Integra diversos ángulos: Usar vistas como planta y elevación da mayor realismo.
- Optimiza el espacio: Considera las maniobras de movilidad al planificar pasillos y áreas comunes.
Aplicaciones de los bloques DWG de discapacidad
- Diseño de hospitales y clínicas: Incluye camas adaptadas y espacios para herramientas de rehabilitación.
- Proyectos urbanos: Diseña rampas, baños adaptados y áreas recreativas inclusivas.
- Arquitectura educativa: Representa entornos accesibles para niños y jóvenes con movilidad reducida.
Conclusión
Los bloques DWG de discapacidad son esenciales para crear diseños accesibles y funcionales. Ya sea para representar discapacitados o minusválidos DWG en sillas de ruedas, o para incluir baños adaptados en planos, estos recursos permiten un diseño inclusivo que mejora la calidad de vida de todas las personas.
























